Phone icon

Pozovite nas

024/222-765

Free shipping icon

Besplatna dostava

Za porudžbine preko 4000 din.

Rezultati 1-12 od 69 rezultata

Filtriraj po ceni

Cena: 31,00 RSD
-
27.999,00 RSD
Izdvojeni artikli Chevron

Rasprodaja

3

Kategorija proizvoda Chevron

Audio interfoni

7

Video interfoni

4

Smart interfoni

1

Interfonski sistemi

26

Šalterski interfoni

1

Oprema za interfone

34

Outlet Chevron

Ne

69

Lager Chevron

Sve

69

Na stanju

68

Nije na stanju

1

Interfoni

Prikazuje se: 12 / 24 / 48 / 96

Interfoni su postali nezaobilazan deo savremenih sigurnosnih sistema za domove, poslovne prostore i stambene zgrade. Oni omogućavaju jednostavnu i efikasnu komunikaciju sa posetiocima, kao i kontrolu pristupa bez potrebe za fizičkim kontaktom. U ponudi Elementa prodavnice možete pronaći širok izbor interfona, od klasičnih audio modela do savremenih smart video uređaja. Naša ponuda obuhvata rešenja za svaki tip objekta i potreba, uz visok kvalitet i proverene brendove. Ako želite veću sigurnost i udobnost, pravi je trenutak da investirate u interfon.

Šta su interfoni i koja im je osnovna namena?

Interfoni su elektronski uređaji koji služe za komunikaciju između korisnika unutar objekta i osobe koja se nalazi ispred ulaznih vrata ili kapije. Postoje u audio i video varijantama, a njihova glavna karakteristika je mogućnost dvosmernog prenosa zvuka i/ili slike, čime omogućavaju korisniku da identifikuje posetioca pre nego što mu dozvoli pristup.
Osnovna namena interfona je kontrola pristupa. Korišćenjem interfona, korisnik može da proveri identitet osobe koja zvoni, komunicira s njom i odluči da li će otvoriti vrata i sve to bez potrebe za direktnim kontaktom. Ovo značajno doprinosi bezbednosti objekta, bilo da je reč o porodičnoj kući, stambenoj zgradi, kancelariji ili poslovnom prostoru.
Pored bezbednosti, interfoni unapređuju i svakodnevnu praktičnost. Savremeni modeli omogućavaju daljinsko otključavanje, povezivanje sa mobilnim uređajima i integraciju sa pametnim sistemima u domaćinstvu. Na taj način interfoni postaju više od običnog uređaja za komunikaciju, oni su ključan deo modernog sistema zaštite i udobnosti.

Koje vrste interfona imamo u našoj ponudi?

U našoj ponudi dostupni su interfoni koji pokrivaju sve segmente tržišta. Od osnovnih modela za stambene objekte, do kompleksnih sistema za poslovne zgrade i javne ustanove. Svaki model nudi specifične funkcionalnosti, u zavisnosti od potreba korisnika i uslova instalacije.

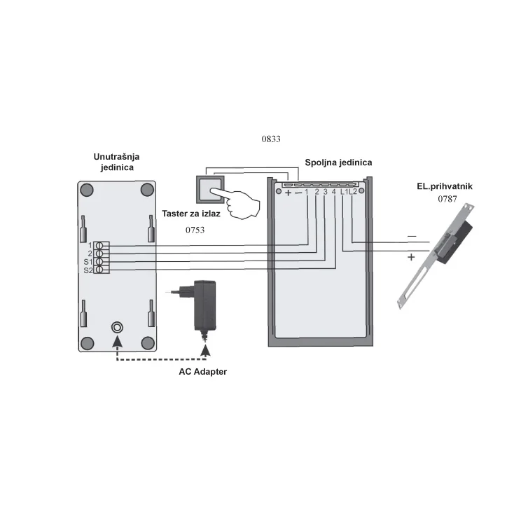
Audio interfoni

Audio interfoni su najjednostavniji i najrasprostranjeniji oblik interfonskih sistema. Sastoje se od spoljne jedinice sa mikrofonom i zvučnikom i unutrašnje jedinice koja korisniku omogućava da razgovara sa posetiocem i po potrebi otvori vrata. Ovakvi sistemi ne poseduju mogućnost prenosa slike, već se komunikacija bazira isključivo na zvuku. Zbog toga su jednostavniji za instalaciju, imaju nižu cenu i koriste se najčešće u porodičnim kućama, manjim objektima i tamo gde nije neophodna vizuelna identifikacija posetioca. Iako ne nude napredne funkcije i dalje predstavljaju efikasnu meru za osnovnu kontrolu pristupa i povećanje sigurnosti.

Video interfoni

Video interfoni predstavljaju napredniju verziju audio sistema jer pored zvuka omogućavaju i prenos slike sa spoljne jedinice ka unutrašnjoj. Spoljna jedinica obično sadrži kameru i mikrofon, dok unutrašnja jedinica ima ekran na kojem korisnik može videti posetioca, komunicirati sa njim i po potrebi otključati vrata ili kapiju.
Glavna prednost video interfona je što omogućavaju vizuelnu potvrdu identiteta, čime se dodatno smanjuje rizik od neovlašćenog pristupa. Kamera može imati različite karakteristike, uključujući noćni vid, širokougaoni objektiv i funkciju snimanja. Video interfoni se često koriste u stambenim zgradama, poslovnim prostorima i kućama sa većim bezbednosnim zahtevima. Oni doprinose većem stepenu kontrole, ali zahtevaju složeniju instalaciju i imaju višu cenu u odnosu na audio modele.

Smart interfoni

Smart interfoni predstavljaju najnapredniju generaciju interfonskih uređaja, osmišljenu za potrebe savremenog korisnika koji želi veću fleksibilnost, kontrolu i povezanost. Za razliku od klasičnih audio i video modela, smart interfoni omogućavaju korisnicima da komuniciraju sa posetiocima i upravljaju pristupom čak i kada nisu fizički prisutni. Povezuju se sa pametnim telefonima putem interneta, što omogućava daljinsko otključavanje vrata, primanje poziva i praćenje aktivnosti u realnom vremenu.
Ovi uređaji se odlikuju intuitivnim ekranima osetljivim na dodir, bežičnom povezivošću i mogućnošću integracije sa pametnim kućnim sistemima, poput automatizovanih brava, alarmnih sistema ili video nadzora. Korisnik može primati obaveštenja o posetiocima, pregledati snimke, razgovarati sa osobom ispred ulaza ili čak automatski snimati svaki pokušaj pristupa.
Smart interfoni su posebno korisni u domaćinstvima i objektima gde se traži visok nivo sigurnosti i praktičnosti, ali i u situacijama kada korisnici često nisu kod kuće. Njihova najveća prednost je što proširuju ulogu interfona van fizičkih granica objekta, nudeći punu kontrolu pristupa bez obzira na lokaciju korisnika. 

Interfonski sistemi

Interfonski sistemi su kompleksniji sistemi koji se sastoje od više povezanih jedinica i namenjeni su za objekte sa većim brojem korisnika. U tipičnom sistemu postoji jedna ili više spoljašnjih jedinica (na ulazima u objekat) koje komuniciraju sa više unutrašnjih jedinica postavljenih u različitim stanovima, kancelarijama ili prostorijama.
Ovi sistemi mogu biti audio, video ili kombinovani, i često uključuju centralnu kontrolnu tablu koja upravlja komunikacijom između korisnika i posetilaca. Interfonski sistemi se najčešće koriste u stambenim zgradama, školama, bolnicama, poslovnim kompleksima i institucijama gde je potrebna organizovana i bezbedna komunikacija između više tačaka. Njihova prednost je skalabilnost, jer se mogu proširivati u skladu sa potrebama objekta.


Šalterski interfoni

Šalterski interfoni su specijalizovani uređaji dizajnirani za komunikaciju kroz fizičku barijeru, najčešće staklo ili pleksiglas. Koriste se u prostorima gde je neophodno očuvati fizičku zaštitu osoblja, ali omogućiti nesmetanu dvosmernu komunikaciju sa korisnicima ili klijentima.
Najčešće se nalaze u bankama, poštama, apotekama, recepcijama, bolnicama i drugim mestima sa povišenim merama zaštite. Ovi interfoni obično koriste tehnologiju sa dve nezavisne audio linije koje eliminišu eho i omogućavaju jasan razgovor sa obe strane barijere. Njihova konstrukcija je robusna, često sa dodatnom zaštitom od vandalizma, i prilagođena je stalnoj upotrebi.

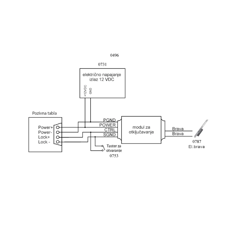
Oprema za interfone

Oprema za interfone obuhvata sve dodatne komponente koje omogućavaju pravilno funkcionisanje, proširenje i instalaciju interfonskih sistema. Tu spadaju električne brave koje omogućavaju daljinsko otključavanje vrata, napajanja za stabilan rad sistema, nosači za montažu, kablovi za povezivanje jedinica, zvona, moduli za proširenje, kao i adapteri za integraciju sa postojećim sigurnosnim rešenjima.

Koje su prednosti interfona?

Interfoni su postali mnogo više od pomoćnog sredstva za komunikaciju. Danas predstavljaju važan deo svakodnevne sigurnosti i udobnosti, kako u domaćinstvima, tako i u poslovnim objektima.

Povećana bezbednost i kontrola pristupa

Jedna od ključnih prednosti interfona jeste povećanje bezbednosti. Zahvaljujući mogućnosti da pre otvaranja vrata proverite ko se nalazi s druge strane, smanjuje se rizik od nepoželjnih ili nepoznatih posetilaca. Interfon vam omogućava da donesete informisanu odluku da li želite da otvorite vrata, ignorišete poziv ili eventualno zatražite dodatne informacije od posetioca. Ovo je posebno značajno za starije osobe, decu, kao i sve koji žive sami ili u objektima sa slabijim fizičkim nadzorom.

Jednostavna komunikacija sa posetiocima

Još jedna važna prednost je udobna i neposredna komunikacija. Nema potrebe da fizički dolazite do vrata kako biste saznali ko zvoni. Interfon omogućava razgovor iz bilo koje prostorije u kući ili kancelariji, a kod višespratnih objekata i sa različitih etaža. Ovo ne samo da štedi vreme, već doprinosi i osećaju sigurnosti jer zadržavate fizičku distancu dok donosite odluke. Kod višekorisničkih sistema, komunikacija je moguća i između različitih unutrašnjih jedinica, što dodatno olakšava svakodnevno funkcionisanje.

Laka integracija sa drugim sigurnosnim sistemima

Savremeni interfoni su projektovani da se lako integrišu sa postojećim bezbednosnim sistemima. Bilo da je reč o alarmima, video nadzoru, elektronskim bravama, senzorima pokreta ili čak sistemima za automatsko osvetljenje, interfon se može uklopiti u jedinstvenu mrežu uređaja koji zajedno čuvaju vaš dom ili poslovni prostor. Ova integracija omogućava efikasniju kontrolu, veću funkcionalnost i bolju automatizaciju, posebno u pametnim objektima gde je sve moguće kontrolisati sa jednog mesta.

Moderni modeli sa pametnim funkcijama

Najnovije generacije interfona donose sa sobom niz pametnih funkcija koje značajno unapređuju korisničko iskustvo. Bežično povezivanje putem Wi‑Fi mreže, upravljanje putem mobilne aplikacije, video nadzor u realnom vremenu, automatsko snimanje prilikom detekcije pokreta i mogućnost daljinskog otključavanja vrata samo su neki od primera. Ove funkcije su posebno korisne kada niste kod kuće jer vam omogućavaju da primite poziv, proverite posetioca i odlučite kako da postupite, bez obzira gde se nalazite.


Koje su mane interfona?

Iako interfoni donose niz prednosti u pogledu bezbednosti i udobnosti, postoje i određeni nedostaci koje treba uzeti u obzir prilikom izbora uređaja. Ove mane nisu nužno prepreke za kupovinu, ali predstavljaju važne faktore koji mogu uticati na konačnu odluku korisnika.

Viša cena naprednijih modela

Video i smart interfoni mogu biti skuplji u odnosu na osnovne audio modele, ali ta razlika u ceni se često opravdava dodatnim funkcijama, kvalitetnijim komponentama i višim nivoom sigurnosti. Ipak, za korisnike sa ograničenim budžetom to može predstavljati izazov pri opremanju objekta.

Potreba za stručnom ugradnjom

Za optimalan rad interfona preporučuje se profesionalna instalacija, posebno kod složenijih sistema i višekorisničkih objekata. Nestručna montaža može dovesti do problema sa napajanjem, povezivanjem ili funkcionalnošću samog sistema, što dugoročno utiče na pouzdanost uređaja.

Zavisan kvalitet slike/zvuka kod jeftinijih uređaja

Kod budžetskih modela može se desiti da kvalitet slike ili zvuka ne zadovoljava sve potrebe korisnika, naročito u uslovima slabog osvetljenja, buke ili vremenskih nepogoda. Slabija kamera ili mikrofon mogu otežati identifikaciju posetilaca i umanjiti ukupnu bezbednost sistema.

Ograničenja u dometu kod bežičnih uređaja

Bežični interfoni imaju ograničen domet i mogu biti podložni smetnjama u komunikaciji ukoliko se nalaze u zgradama sa debelim zidovima, metalnim konstrukcijama ili brojnim elektronskim uređajima. U takvim slučajevima može doći do prekida signala ili kašnjenja u vezi, što utiče na pouzdanost sistema.

Kako odabrati pravi interfon?

Odabir pravog interfona zavisi od više faktora. Spremili smo za vas detaljno uputstvo šta sve trebate uzeti u obzir prilikom izbora kako biste dobili tačno ono što zadovoljava vaše potrebe bez izlaganja velikom trošku.

Tip objekta - kuća, zgrada, kancelarija

Vrsta objekta direktno utiče na izbor interfonskog sistema. Porodične kuće uglavnom zahtevaju jednostavnije modele sa jednom spoljnom i jednom unutrašnjom jedinicom, dok stambene zgrade i kancelarije često zahtevaju kompleksnije sisteme sa više ulaza, više korisnika i naprednim opcijama za upravljanje pristupom. U poslovnim objektima, dodatne funkcionalnosti poput interkom povezivanja između više sektora mogu biti veoma korisne.

Potreban broj unutrašnjih jedinica

Ukoliko se radi o višeetažnoj kući, većem stanu ili objektu sa više radnih prostorija, preporučuje se postavljanje više unutrašnjih jedinica radi lakšeg pristupa interfonu iz bilo kog dela objekta. Višestruke jedinice omogućavaju veću fleksibilnost i komfor, posebno u domaćinstvima sa više članova porodice ili u poslovnim prostorima gde više zaposlenih treba da upravlja pristupom.

Audio ili video funkcionalnost

Odabir između audio i video interfona zavisi od nivoa kontrole koji želite. Ako je dovoljna osnovna komunikacija bez vizuelne identifikacije, audio interfon može biti sasvim adekvatan i povoljniji. Međutim, video interfoni omogućavaju korisnicima da vide posetioce pre otvaranja vrata, što pruža dodatni nivo bezbednosti i osećaja sigurnosti, posebno u večernjim časovima ili kada su deca sama kod kuće.

Način instalacije - žični ili bežični sistem

Žični interfoni nude veću stabilnost i pouzdanost u radu, ali zahtevaju ozbiljniju pripremu i instalaciju, što ih čini pogodnijim za objekte u fazi izgradnje ili renoviranja. Bežični modeli su fleksibilniji, jednostavni za postavljanje i idealni za naknadnu ugradnju bez potrebe za dodatnim građevinskim radovima. Međutim, kod bežičnih sistema važno je voditi računa o dometu i stabilnosti signala.

Dodatne opcije - daljinsko otključavanje, snimanje, aplikacija

Savremeni interfoni često dolaze sa nizom dodatnih funkcija koje podižu nivo bezbednosti i olakšavaju svakodnevnu upotrebu. Mogućnost daljinskog otključavanja vrata, snimanja posetilaca ili primanja poziva putem mobilne aplikacije omogućava korisnicima potpunu kontrolu čak i kada nisu kod kuće. Ove funkcije su naročito korisne za putovanja, rad sa udaljene lokacije ili nadzor dece i starijih osoba.

Brend i kvalitet izrade

Ulaganje u interfon renomiranog brenda često znači dugotrajniji rad uređaja, bolju korisničku podršku i sigurniju garanciju. Kvalitet izrade utiče ne samo na dugovečnost, već i na pouzdanost u svakodnevnom korišćenju, otpornost na vremenske uslove i jednostavnost održavanja. Neprovereni ili jeftini modeli mogu delovati privlačno na prvi pogled, ali mogu doneti dodatne troškove kroz čestu potrebu za servisiranjem ili zamenom.

Dizajn i estetika uređaja

Pored tehničkih karakteristika, savremeni korisnici sve više pažnje poklanjaju i izgledu interfona. Uređaji dolaze u različitim bojama, oblicima i završnim obradama koje se mogu lako uklopiti u stil enterijera ili fasade. Minimalistički, moderni ili klasični dizajn može doprineti estetici prostora i stvoriti sklad sa ostalim uređajima u okruženju.

Cena i garancija

Pri odabiru interfona važno je uskladiti cenu sa sopstvenim potrebama i očekivanjima. Jeftiniji modeli nude osnovne funkcije, dok viši cenovni rang donosi napredne mogućnosti i veći nivo sigurnosti. Garancija je takođe važan faktor jer duži garantni rok ukazuje na pouzdanost proizvođača i kvalitet komponenti, a korisnicima pruža dodatnu sigurnost u slučaju eventualnih problema.

 Kompatibilnost sa postojećom opremom

Ako već imate instalirane sisteme poput elektronskih brava, video nadzora, pametnih senzora ili automatizacije, neophodno je proveriti da li novi interfon može biti povezan sa tim uređajima. Kompatibilnost omogućava jednostavnu integraciju bez dodatnih ulaganja i komplikacija prilikom ugradnje, čime se čitav sistem podiže na viši nivo efikasnosti i funkcionalnosti.

Zašto kupiti interfon u Elementa prodavnici?

Provereni brendovi i širok izbor modela

Kupovinom interfona u Elementa prodavnici birate sigurnost i kvalitet. U ponudi imamo samo uređaje renomiranih proizvođača koji nude višegodišnju garanciju i dug vek trajanja. 

Brza i sigurna dostava širom Srbije

Bez obzira na to gde se nalazite u Srbiji, vaš paket u većini slučajeva stiže u roku od 1 do 3 radna dana na Vašu  adresu.

Online kupovina bez rizika i opcija ličnog preuzimanja

Naš sajt je tehnički obezbeđen za bezbedno online plaćanje, a proces kupovine je brz i jednostavan. Takođe postoji i opcija ličnog preuzimanja u nekoj od naših prodavnica. Koji god način da izaberete vaša porudžbina je zaštićena, a svaki artikal dolazi uz račun i garanciju.

Korisnička služba na raspolaganju

Naš tim korisničke podrške vam je na raspolaganju za sve nedoumice tokom porudžbine, bilo da je u pitanju status isporuke, kašnjenje, greška u porudžbini ili reklamacija. Tu smo da brzo i jasno rešimo svaki problem kroz ljubaznu komunikaciju.

Koji brendovi interfona su dostupni u ponudi Elementi?

Home

Brend poznat po jednostavnim i pouzdanim modelima, idealnim za domaćinstva i manje poslovne objekte. Njihova ponuda obuhvata raznovrsne varijante interfona sa solidnim balansom između kvaliteta i cene, što ih čini dobrim izborom za korisnike koji žele praktično i cenovno pristupačno rešenje bez previše komplikacija.

Teh-Tel

Teh‑Tel nudi široku i raznovrsnu ponudu modela, od osnovnih do naprednih, sa fokusom na pouzdanost, tehničku preciznost i dugotrajan rad. Njihovi interfoni su prepoznati po kvalitetnoj izradi i funkcionalnim rešenjima, što ih čini odličnim izborom za korisnike koji traže više od standarda.

Zanima vas koji interfon mi preporučujemo?

Ako želite da podignete nivo bezbednosti i udobnosti na viši nivo, naš izbor interfona će ispuniti vaša očekivanja.

  1. Smart Wi-Fi video interfon 7" (DPV-SMART) - 2 MP AHD kamera sa širokim uglom (120°), IP65 aluminijumska spoljna jedinica, 7″ ekran osetljiv na dodir (1024×600 px), detekcija pokreta sa notifikacijom, noćni režim + automatsko snimanje, otvaranje vrata putem RFID tagova, interkom komunikacija, daljinsko upravljanje putem Smart Life / Tuya aplikacije (Android / iOS), podrška za dodatne kamere i senzore, meni na srpskom jeziku.
  2. Kolor video interfon (DPV260) - 2 MP kamera sa širokim uglom snimanja (120°), 7″ LCD displej u boji (1024×600 px), IR noćni režim sa skrivenim LED osvetljenjem, tasteri na dodir sa pozadinskim svetlom, funkcija „Ne uznemiravaj“, 30 melodija zvona sa podešavanjem jačine, osmatranje ulaza do 60 sekundi, podrška za elektronsku bravu, LED indikator statusa, spoljna jedinica sa zaštitom od kiše, maksimalna veza do 50 m (četvorožilni kabl), meni na srpskom jeziku.
  3. Žični interfon (DP02) - dvožilni analogni sistem sa dometom do 500 m (2×1 mm² kabl), kvalitetan prenos zvuka između unutrašnje i spoljašnje jedinice, ugrađena elektronika za otključavanje bez dodatnog napajanja, LED osvetljena pločica za natpis, metalno kućište, jednostavna montaža sa vijčanim priključcima, napajanje 230 V~, bez interkom funkcije.


Najčešće postavljana pitanja (FAQ)

Koja je razlika između audio i video interfona?

Audio interfoni omogućavaju dvosmernu zvučnu komunikaciju između korisnika i posetioca, bez mogućnosti vizuelnog kontakta. Video interfoni, pored zvuka, omogućavaju i prenos slike, čime korisnik može videti osobu koja se nalazi ispred ulaza. Ova vizuelna potvrda pruža dodatni nivo bezbednosti i kontrole pristupa, posebno u večernjim satima ili kada se posetilac ne očekuje.

Da li interfon može da se poveže sa mobilnim telefonom?

Da, smart interfoni imaju mogućnost povezivanja sa mobilnim aplikacijama putem Wi‑Fi mreže ili interneta. Pomoću ovih aplikacija korisnik može primati pozive, videti posetioce u realnom vremenu, komunicirati sa njima i čak otvarati vrata.

Da li interfoni mogu da rade bez interneta?

Da, većina klasičnih audio i video interfona funkcioniše potpuno nezavisno od internetske veze. Internet je potreban samo za korišćenje naprednih funkcija kod smart modela, kao što su daljinsko upravljanje, notifikacije, snimanje i pristup putem aplikacije.

Kako se održava spoljna jedinica interfona?

Spoljna jedinica interfona treba se redovno čistiti mekom, suvom ili blago vlažnom krpom kako bi se uklonile nečistoće, prašina i tragovi od vremenskih uslova. Preporučuje se da se povremeno proveri funkcionalnost kamere, mikrofona, zvučnika i tastera. Kod modela sa kamerom, važno je održavati sočivo čistim kako bi slika ostala jasna i pregledna. Ako se interfon nalazi na otvorenom, dodatna zaštita od kiše i sunca produžava njegov vek trajanja.

Kolika je garancija na interfone?

Garancija varira od modela do modela i uvek je jasno istaknuta u opisu proizvoda. Za većinu modela garancija je 25 meseci.

Da li nudite besplatnu dostavu?

Da, postoji. Za porudžbine preko 4000 din omogućili smo i besplatnu dostavu tako da na taj način dodatno možete da uštedite.

Mogu li da vratim interfon ako mi ne odgovara?

Da. U skladu sa zakonom o zaštiti potrošača, imate pravo da vratite proizvod u roku od 14 dana od prijema, ako vam ne odgovara. Za više informacija kontaktirajte korisničku podršku.